外墻翻新改造 涂飾水性氟碳漆 完整工藝流程
文章發布于:2019-10-25 作者:昂威涂料 瀏覽次數:次

文章發布于:2019-10-25 作者:昂威涂料 瀏覽次數:次
氟碳涂料在外墻上的使用,不但工藝簡單,而且由于其壽命長,耐污染好,其全壽命成本和維護成本更低,通過合理的工藝,抗裂性也優于一般涂料,而且裝飾性多樣,各種金屬色,實體色,清水混凝土色都可以出色表現,且由于耐候出色,裝飾效果維持時間長久,是外墻裝飾一種優良選擇。
水性氟碳涂料,又稱水性氟碳漆,其采用高品質的水性氟碳樹脂為基料,配合無機陶瓷顏料和助劑,是一種環保性、高品質的水性涂料。

水性氟碳涂料在外墻的工藝介紹
在外墻工藝中,“一底兩面工藝”和“高端氟碳漆工藝”是具代表性的,我們將我們的主推的水性氟碳工藝和這兩種工藝進行對比,讓大家對外墻涂料工藝有一個更直觀的認識:

我們推薦的新工藝中,加固隔離層是一種可以有很好抗裂效果,加固基材,封閉墻體堿性,提供絕佳層間附著力,既可以噴涂,又可以批涂的多功能材料。
一道解決找平,加固,抗裂,封閉,層間附著力等諸多問題,而且硬度高,外觀效果好,化繁為簡,全方面提升外墻質量,大幅度減少外墻施工的工期。
完整工藝流程介紹
工藝流程:
建筑底材面預處理——批找平膩子/抗裂砂漿——干燥——打磨——批FN-1混凝土加固處理劑——干燥打磨——涂水性氟碳面漆——涂層維護
工藝介紹:
建筑底材面預處理:干燥28天,使水泥硬化達標;清掃:除去建筑底材面的油污、灰塵和殘膠;打磨:整平建筑底材面除去疏松層、和凸起物;如需要墻面分割,這里可以預埋分隔條;
批刮找平膩子:對墻面進行粗找平,使表面平整光滑(如果抗裂砂漿平整度好,此工序忽略);
批清水混凝土加固膩子:按照工藝要求將兩組份混合后,在已經找平的混凝土上進行滿批作業,要求表面平整,該步驟的主要目的是加固混凝土結構,封閉混凝土基材的堿性,同時作為涂層上下連接的底漆使用,同時對墻面實現精細找平;
此道養護建議時間為48小時,溫度過低天氣建議適當延長時間;
涂水性氟碳面漆:主要的防護、裝飾保護層,提供戶外長期的耐候性和耐污性,此工藝主要用于外墻領域,金屬色并不合適,因此面漆我們實際上多采用實體色進行施工,工藝建議采用中長毛滾筒滾涂施工。
操作:本道面漆建議采用滾涂施工,首先參照說明將水性氟碳涂料與固化劑按照7:1(質量比)混合,并加入約0~5%的清水,攪拌均勻,調至噴涂適合粘度,用羊毛滾筒蘸取涂料滾涂在已經養護完畢混凝土加固膩子表面,建議涂兩道。
涂層維護:涂裝完成后的涂層需經7天以上的成熟反應才能達到使用要求。

舊墻改造的要點:
相對于新建的建筑,舊墻改造在實際接觸的工程中更為普遍,對于我們的工藝來說,舊墻改造項目與新墻項目不同點主要在于墻面的處理工作,之后的流程是一樣的。這里我們主要分析一下幾種常見的舊墻改造是前處理的基本要求。
A、瓷磚、馬賽克面:將空鼓、脆裂的馬賽克瓷磚清除(其余完整部分不必鏟除,不必打毛)。再用瓷磚面專用處理劑均勻涂抹在馬賽克瓷磚表面,干燥后完成處理。
B、剝落的嚴重的墻面:用鏟刀去除墻面上剝落嚴重的涂層,一直鏟除到質地不松動的表層,然后再批涂一層抗裂砂漿,干燥后完成基面處理。
C、做過保溫層開裂的墻面:做過保溫層的墻面如果保溫層上面的抗裂砂漿和網格布選擇不當,一般會出現比較嚴重的開裂情況:
去除不牢固的漆膜——對于墻面進行切割(切斷保溫層網格布)——預埋分隔條——墻面進行局部找平處理——接下去進行批混凝土加固處理劑——干燥打磨——對開縫進行涂漆處理——涂水性氟碳面漆——對縫隙進行打膠處理——涂層維護
切割說明:切斷保溫層網格布是為了對墻面進行重新分割,分散應力,一體的保溫抗裂層很難保證不開裂,因此必須進行塊面分割,至少要在樓層處進行分割。

對開縫進行涂漆處理說明:為了保證整體涂層應力可以釋放和整體美觀,該工藝中特別引入開縫工藝,開縫采用手動切割機即可進行,具體步驟為:
a)根據圖紙的分割進行彈線分割;
b)采用雙刀片手動切割機沿線進行切割,切割寬度為4mm;
c)切割深度以切斷保溫層網格布為準,約5mm左右;
開縫可以保證應力的釋放,但是必須為了保證建筑整體的防水性,必須對縫隙進行處理,
a) 用空壓機吹氣配合刷子將分隔縫中的灰先吹盡;
b) 用小號毛刷或者毛筆蘸取封閉底漆在縫隙中先刷一道;
c) 為保證防水性,底漆干后再刷一道油性防水涂層;
對開縫進行打膠處理說明為了達到更好的防水和裝飾效果,本涂裝系統在面漆涂裝后,最后還需要將縫隙進行打硅膠處理具體操作步驟為:
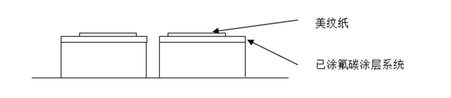
a)用厚美紋紙在開縫兩側的面漆上進行保護,兩側各留3-5mm左右;

b)在縫隙中打硅膠,需溢出一些后刮平,最后膠填充部位如下圖黑色所示

為表現更佳的分割效果,我們建議采用深色的硅膠作為填縫材料,最終外觀上膠縫寬度在12-15mm左右。
以上處理方式是我們推薦的幾種比較合理的處理工藝,已經在實際工程中的等到應用,具體的舊墻改造,我們也會根據實際的情況出具更有針對性的方案。